Автоматические выключатели защиты двигателя SystemePact GM2 до 32 А являются заменой популярной серии GV2 от Schneider Electric. Они имеют те же габаритные размеры и обладают схожими техническими характеристиками, что делает их конкурентоспособным аналогом.
SystemePact GM2 обладают высокой отключающей способностью, до 100 кА, что позволяет им эффективно справляться с большими токами короткого замыкания (КЗ).

Устройства могут поставляться в кнопочном исполнении и с поворотной рукояткой управления. Для применения в решениях, требующих секционирования, доступна выносная поворотная рукоятка.
Для обеспечения безопасности предусмотрена пломбировка регулировочного диска.
Кроме этого, важным преимуществом является наличие полного комплекта аксессуаров:
- дополнительных контактов аварийного отключения и сигнализации короткого замыкания,
- соединительных шинок,
- расцепителей (минимального напряжения, независимых),
- дополнительных контактов (фронтальных, боковых).
Также важна и взаимозаменяемость с аксессуарами Schneider Electric (за исключением выносной поворотной рукоятки). Для удобства монтажа доступны соединительные блоки для подключения автоматических выключателей защиты двигателя GM2 и контакторов серии SystemePact MC1D, MC1E.
Автоматы серии защиты двигателя GM2 предназначены для защиты трехфазных асинхронных двигателей, которые широко применяются в различных отраслях.
GM2 обеспечивает защиту по всем трем фазам, включая контроль перекоса фаз, обрыва фазы. Это критически важно для асинхронных двигателей, поскольку без защиты от вышеуказанных воздействий возможен выход двигателя из строя.
Наряду с этим аппараты защиты двигателя от «Систэм Электрик» также могут использоваться и для однофазных нагрузок, что расширяет сферу их применения.
При подключении GM2 к однофазной нагрузке важно помнить о некоторых особенностях. В частности, возникает необходимость в специальных схемах, чтобы избежать ложных срабатываний из-за перекоса фаз.
Существует два основных варианта подключения:
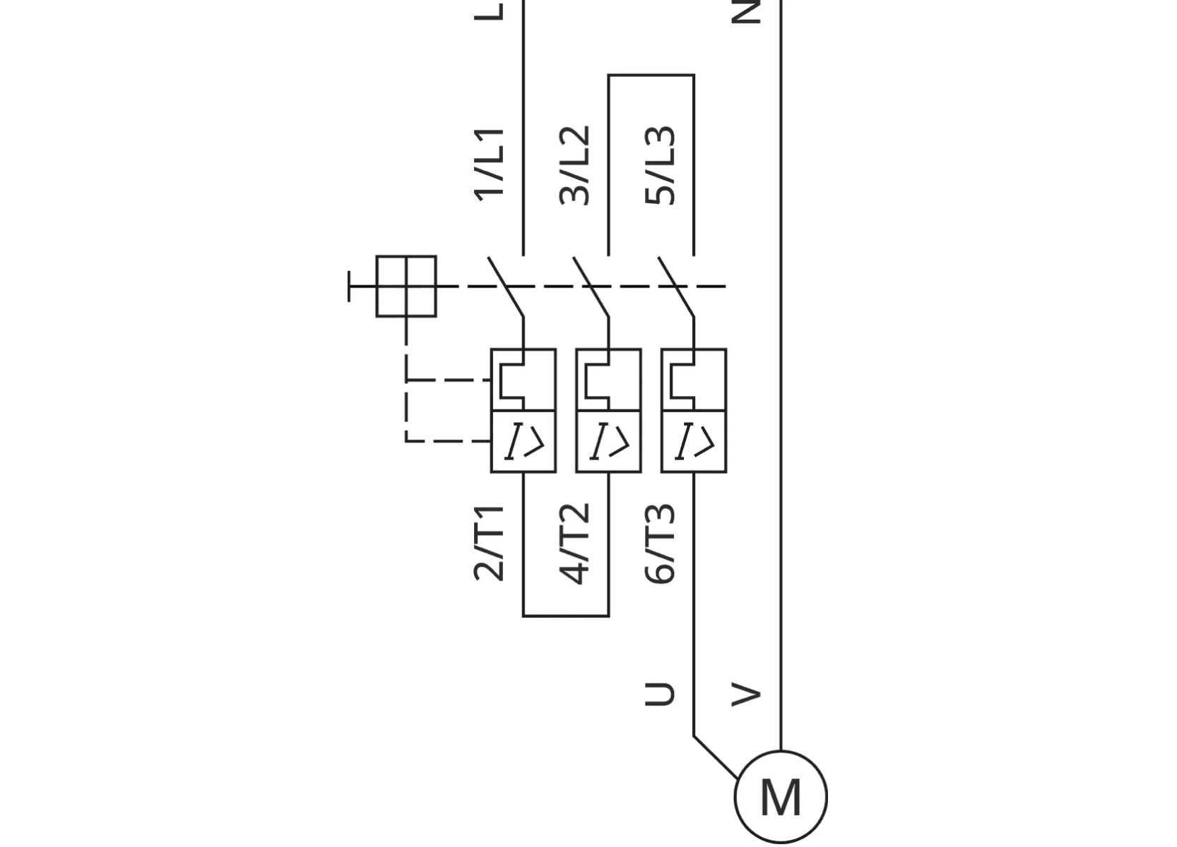
Первый. Последовательное подключение фазы через все три полюса. При таком подключении фаза проходит через все три полюса автомата, что обеспечивает равномерное распределение тока.

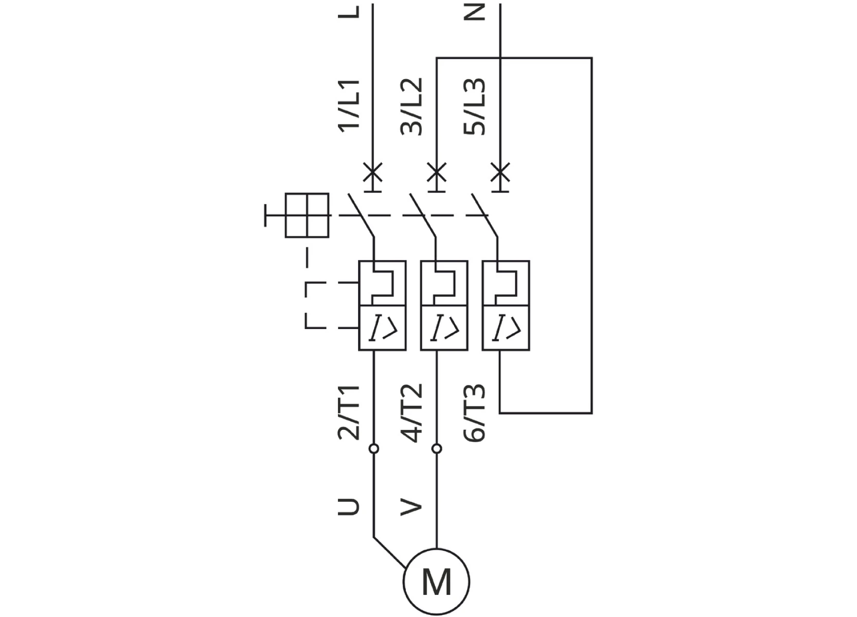
Второй. Подключение фазы через один полюс, а нейтрали через два. В этом случае нейтраль последовательно подключается к двум полюсам, а фаза к третьему. Данная схема предпочтительнее.

В качестве альтернативы для защиты однофазных двигателей могут также применяться модульные автоматические выключатели с характеристикой отключения D. Но у специализированных автоматов для защиты двигателя есть ряд преимуществ за счет большей точности и повышенной надежности.
В частности, автоматы GM2 рассчитаны на высокие пусковые токи (в 7–10 выше номинального тока), что исключает ложные срабатывания при запуске двигателя. В отличие от модульного оборудования, у них есть встроенная защита от перекоса фаз и обрыва фазы.
Автоматы защиты двигателя серии GM2 включают варианты с комбинированными (термомагнитными) (КЗ и перегрузка) и электромагнитными расцепителями (только КЗ). Это позволяет выбирать оптимальное решение в зависимости от требований к защите.
АВЗД широко используются в промышленности для обеспечения безопасности и надежности работы электродвигателей (систем вентиляции, насосов, конвейеров, подъемного оборудования и др.) защищая их от аварийных режимов работы.
